Manuální převodovka 147 (lanovody, kulisa, synchrony atp.)
- Kůrkyn
 - SemTuFurt
 - Příspěvky: 4916
 - Registrován: 13.5.2007, ned 23:56
 - Bydliště: Pacov
 - Kontaktovat uživatele:
 
Re: Manuální převodovka 147 (lanovody, kulisa, synchrony atp.)
To v Tvém posledním příspěvku dole:
http://www.alfisti.cz/forum/viewtopic.p ... 4&start=70
je na JTD CF3 a JTD 16 V a na GTA
2.0 a 1.6 mají ten plast vcelku, přesně jako na těch rozebraných fotkách výše.
Nejlepší bude opsat číslo z dílu, který máš skutečně na autě a podle toho to koupit.
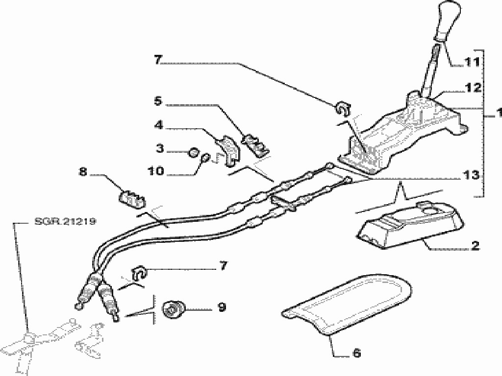
Podle ePeru bys tam měl mít 55191141, což je plastová podpěra se šaltpákou bez lanek a hlavice páky. To způsobuje to viklání.
Pro zajímavost:
Komplet s hlavicí a lanky by v Tvojem autě měl být:
pro základní výbavu 735308835
pro dřevěnou šaltrpáku 55347130
pro koženou 735308851
			
									
									
						http://www.alfisti.cz/forum/viewtopic.p ... 4&start=70
je na JTD CF3 a JTD 16 V a na GTA
2.0 a 1.6 mají ten plast vcelku, přesně jako na těch rozebraných fotkách výše.
Nejlepší bude opsat číslo z dílu, který máš skutečně na autě a podle toho to koupit.
Podle ePeru bys tam měl mít 55191141, což je plastová podpěra se šaltpákou bez lanek a hlavice páky. To způsobuje to viklání.
Pro zajímavost:
Komplet s hlavicí a lanky by v Tvojem autě měl být:
pro základní výbavu 735308835
pro dřevěnou šaltrpáku 55347130
pro koženou 735308851
Re: Manuální převodovka 147 (lanovody, kulisa, synchrony atp.)
ono se dávalo dřevo do 147?  
			
									
									
						Re: Manuální převodovka 147 (lanovody, kulisa, synchrony atp.)
Číslo mám na plastu napsaný735308851, tedy pro koženou výbavu, ale koženej mám akorát tak volant . Takže bych tam měl mít díl jak píšeš 55191141.
			
													
					Naposledy upravil(a) Maikl.kom dne 2.3.2010, úte 18:55, celkem upraveno 2 x.
									
			
									Flatland forewer
						- Maxa
 - Štamgast
 - Příspěvky: 816
 - Registrován: 31.8.2008, ned 08:11
 - Bydliště: Ostrava-Výškovice
 - Kontaktovat uživatele:
 
Re: Manuální převodovka 147 (lanovody, kulisa, synchrony atp.)
Bylo náročné to rozkuchat?
			
									
									Ex Alfa Romeo 159 JTDm 110kw
ex AR 147 1.6TS 88KW
Ex Mazda 6 Gj kombi 2,2 141 kw
Alfaromeo Stelvio Veloce 2,2 154Kw
						ex AR 147 1.6TS 88KW
Ex Mazda 6 Gj kombi 2,2 141 kw
Alfaromeo Stelvio Veloce 2,2 154Kw
Re: Manuální převodovka 147 (lanovody, kulisa, synchrony atp.)
těžký ne, ale spíš pracný. Tak první pokus o opravu nevyšel, snad vyjde duhej. Aspoň si mechanik nacvičil jak se to dělá a podruhé a potřetí mu to už půjde rychleji  
			
									
									Flatland forewer
						- speedy
 - SemTuFurt
 - Příspěvky: 7311
 - Registrován: 11.10.2009, ned 17:24
 - Bydliště: Jablonec nad Nisou
 - Kontaktovat uživatele:
 
Re: Manuální převodovka 147 (lanovody, kulisa, synchrony atp.)
tak to vypadá, že problém s převodovkou začíná být aktuální  i pro mě. je to jako u ostatních. když se auto ohřeje, tak těžko řadí a páka se nevrací do neutrální polohy. pětoura tam musim dávat silou stejně tak zpátečku.
Příští týden vezu auto k mechanikovi, bude mi tam dávat sportovní podvozek a měnit tyčky stabiku, tak mu řeknu at mi to zkoukne i u tý šaltpáky. Na podzim jsem si nechával měnit převodový olej, tak se zeptám jestli mi někde neuchcal. máte někdo finální resumé pro to, co by mohlo být příčinou ztuhlé páky? někdo píše, že stačilo dolít olej, někdo se tady pouští pomalu do rozborky celé převodovky, tak z toho mám trochu hokej. Nevím ani , jestli se třeba po výměně oleje, nemusí krátce na to překontrolovat a případně dolít.
Děkuji za rady a návrhy
			
									
									Příští týden vezu auto k mechanikovi, bude mi tam dávat sportovní podvozek a měnit tyčky stabiku, tak mu řeknu at mi to zkoukne i u tý šaltpáky. Na podzim jsem si nechával měnit převodový olej, tak se zeptám jestli mi někde neuchcal. máte někdo finální resumé pro to, co by mohlo být příčinou ztuhlé páky? někdo píše, že stačilo dolít olej, někdo se tady pouští pomalu do rozborky celé převodovky, tak z toho mám trochu hokej. Nevím ani , jestli se třeba po výměně oleje, nemusí krátce na to překontrolovat a případně dolít.
Děkuji za rady a návrhy
AR Tonale Speciale 1.5 VGT 118Kw
AR Giulietta 1.4 T-Jet 88kw Sportiva
EX AR Giulia 2.2JTD Super 8AT 110kw
EX AR 159 SW 1.9JTDm 110kw - to je vražda, napsala
EX AR 159 SW 2.4JTDm 154kw Ti
EX AR 156 SW 2.4JTDm 129kw
EX AR 147 1.6 TS 88kw
						AR Giulietta 1.4 T-Jet 88kw Sportiva
EX AR Giulia 2.2JTD Super 8AT 110kw
EX AR 159 SW 1.9JTDm 110kw - to je vražda, napsala
EX AR 159 SW 2.4JTDm 154kw Ti
EX AR 156 SW 2.4JTDm 129kw
EX AR 147 1.6 TS 88kw
Re: Manuální převodovka 147 (lanovody, kulisa, synchrony atp.)
mě to vyřešil novej olej, vracelo se to studený, ale poslední dobou i zahřátý... jenom v ni byla vule, jak je vychozena... dneska zacala zas tuhnout (pohyb do strany), ale to jsem jezdil po cele Praze a hodně z toho kolony   a silou zakroutil s hlavicí, páč se zas povolila 
máš orosenou převodovku?
			
									
									
						máš orosenou převodovku?
- speedy
 - SemTuFurt
 - Příspěvky: 7311
 - Registrován: 11.10.2009, ned 17:24
 - Bydliště: Jablonec nad Nisou
 - Kontaktovat uživatele:
 
Re: Manuální převodovka 147 (lanovody, kulisa, synchrony atp.)
řekl bych že ne. když jsem měl auto zvednutý při výměně oleje, tak jsem si ničeho nevšiml
			
									
									AR Tonale Speciale 1.5 VGT 118Kw
AR Giulietta 1.4 T-Jet 88kw Sportiva
EX AR Giulia 2.2JTD Super 8AT 110kw
EX AR 159 SW 1.9JTDm 110kw - to je vražda, napsala
EX AR 159 SW 2.4JTDm 154kw Ti
EX AR 156 SW 2.4JTDm 129kw
EX AR 147 1.6 TS 88kw
						AR Giulietta 1.4 T-Jet 88kw Sportiva
EX AR Giulia 2.2JTD Super 8AT 110kw
EX AR 159 SW 1.9JTDm 110kw - to je vražda, napsala
EX AR 159 SW 2.4JTDm 154kw Ti
EX AR 156 SW 2.4JTDm 129kw
EX AR 147 1.6 TS 88kw
Re: Manuální převodovka 147 (lanovody, kulisa, synchrony atp.)
Podobný problém jsem měl taky - ztuha jdoucí páka řazení (ani se nevracela do střední polohy, trojku a čtyřku jsem musel vždycky "lovit") bez ohledu na zahřátí. Pomohla výměna domečku a promazání kloubu u převodovky. Teď to řadí skoro samo  
			
									
									156 SW 1.9 JTDm
						- speedy
 - SemTuFurt
 - Příspěvky: 7311
 - Registrován: 11.10.2009, ned 17:24
 - Bydliště: Jablonec nad Nisou
 - Kontaktovat uživatele:
 
Re: Manuální převodovka 147 (lanovody, kulisa, synchrony atp.)
Ted jak se oteplilo, tak pozoruju zlepšení. ted to jde zas celkem dobře. no nic, v pondělí dám řeč s mechanikem
			
									
									AR Tonale Speciale 1.5 VGT 118Kw
AR Giulietta 1.4 T-Jet 88kw Sportiva
EX AR Giulia 2.2JTD Super 8AT 110kw
EX AR 159 SW 1.9JTDm 110kw - to je vražda, napsala
EX AR 159 SW 2.4JTDm 154kw Ti
EX AR 156 SW 2.4JTDm 129kw
EX AR 147 1.6 TS 88kw
						AR Giulietta 1.4 T-Jet 88kw Sportiva
EX AR Giulia 2.2JTD Super 8AT 110kw
EX AR 159 SW 1.9JTDm 110kw - to je vražda, napsala
EX AR 159 SW 2.4JTDm 154kw Ti
EX AR 156 SW 2.4JTDm 129kw
EX AR 147 1.6 TS 88kw
- 
				
								deadvslife																				
				
 - Příspěvky: 41
 - Registrován: 18.12.2008, čtv 07:49
 
řadička
Ahoj mam na vás otázku. Dneska jsem jel a když jsem chtěl zařadit na 2 tak řadička byla volná a nešlo řadit zastavil jsem a koukl jsem se k motoru jak tam vedou od řadičky dvě táhla jedno je jakoby ze strany a druhe z vrchu. A zjistil jsem že to rameno které je z vrchu je vypadle nasadil jsem ho znova ale moc se mi to neliby jde jednoduše vyndat. A teď ta otázka. Jak funguje to uchycení toho vrchniho táhla má to nejak zasklapnout nebo to že je to volny je normalní ( to se mi nezdá) 
Mam alfu romeo 147 1.6 TS 88kw. Benzín
Díky za jakekoliv info.
			
									
									
						Mam alfu romeo 147 1.6 TS 88kw. Benzín
Díky za jakekoliv info.
- Maxa
 - Štamgast
 - Příspěvky: 816
 - Registrován: 31.8.2008, ned 08:11
 - Bydliště: Ostrava-Výškovice
 - Kontaktovat uživatele:
 
Re: řadička
je to nacvaklé a musíš to nějak zmáčknout aby to šlo vyndat.Asi máš ty aretační plastíky ulomené.
			
									
									Ex Alfa Romeo 159 JTDm 110kw
ex AR 147 1.6TS 88KW
Ex Mazda 6 Gj kombi 2,2 141 kw
Alfaromeo Stelvio Veloce 2,2 154Kw
						ex AR 147 1.6TS 88KW
Ex Mazda 6 Gj kombi 2,2 141 kw
Alfaromeo Stelvio Veloce 2,2 154Kw
- 
				
								deadvslife																				
				
 - Příspěvky: 41
 - Registrován: 18.12.2008, čtv 07:49
 
Re: řadička
a nevíš jak se to nazívá abych se kouknul kolik to stojí a jak to vypada když je to ok?
			
									
									
						Re: Manuální převodovka 147 (lanovody, kulisa, synchrony atp.)
deadvslife: přesunul jsem tvůj dotaz do příslušného vlákna....  
			
									
									Spider 2000 (1975), 90 V6 QO (1984), Giulia Super 2000 Track car project (1975) + nějaké ty Giulie v rodině :-)
						- Maxa
 - Štamgast
 - Příspěvky: 816
 - Registrován: 31.8.2008, ned 08:11
 - Bydliště: Ostrava-Výškovice
 - Kontaktovat uživatele:
 
Re: Manuální převodovka 147 (lanovody, kulisa, synchrony atp.)
V EPERU je to asi toto.Sponka č.46827488 
devitka
30kč
							
			
									
									devitka
30kč
Ex Alfa Romeo 159 JTDm 110kw
ex AR 147 1.6TS 88KW
Ex Mazda 6 Gj kombi 2,2 141 kw
Alfaromeo Stelvio Veloce 2,2 154Kw
						ex AR 147 1.6TS 88KW
Ex Mazda 6 Gj kombi 2,2 141 kw
Alfaromeo Stelvio Veloce 2,2 154Kw
- 
				
								deadvslife																				
				
 - Příspěvky: 41
 - Registrován: 18.12.2008, čtv 07:49
 
Re: Manuální převodovka 147 (lanovody, kulisa, synchrony atp.)
Ještě jedna otázka. Když na to koukam z vrchu je tam červený plas a na kraji dvakrat zeleny viz obrázek který jsem nakreslil. Chci se zeptat stačí to jen nasadit na tu železnou tyčku s výřezem (to mi nejde) nebo se musí něco dělat s těma zelenýma pacičkama (zatahnou zmačknout ....) Já totiž ani nevím jestli je to rozbitý nebo ne. Prosím o pomoc (s podrobným návodem jak to nasadit děkuji moc)
							
			
									
									
						Re: Manuální převodovka 147 (lanovody, kulisa, synchrony atp.)
Když jsem dneska jel cca 240km na pětku, pak podřadil za 4, tak jsem tam ten kvalt nemohl skoro vůbec narvat a byl boj ho dostat ven... Ale jenom čtverka... Při cca 130+ chytaj zuby při zařazeni pětky z neutralu... Olej z převodovky trochu prosakuje a nechal jsem ho doplňovat před rokem, je mozné, že zas poklesla hladina a dělá to olej nebo je něco se spojkou? Při jízdě podel zdi jde slyšet kovové chrastění, když se ťukne do plynu, ale to bude asi úplně něco jiného  
			
									
									
						Re: Manuální převodovka 147 (lanovody, kulisa, synchrony atp.)
dneska jsem na to koukal a ten kloub od táhel je vlastně taková miska, ve které pak stojí voda a bordel  
			
									
									
						- speedy
 - SemTuFurt
 - Příspěvky: 7311
 - Registrován: 11.10.2009, ned 17:24
 - Bydliště: Jablonec nad Nisou
 - Kontaktovat uživatele:
 
Re: Manuální převodovka 147 (lanovody, kulisa, synchrony atp.)
mě šla taky páka ztuha, ale ještě se nedalo mluvit o tragédii. Dneska jsem to dal k mechanikovi a on že na to mrkne, tak jsem šel domů a sotva jsem došel, tak mi volá, že to je hotový a at si pro auto přijdu  
 . nakonec to bylo přidřený futro nebo co to říkal, tak to pročistil a přibrousil a je to v poho. za tři kilča nekup to  
 . a páka jde hezky zlehka a v neutrální dráze se vrací hezky doprostřed
			
									
									AR Tonale Speciale 1.5 VGT 118Kw
AR Giulietta 1.4 T-Jet 88kw Sportiva
EX AR Giulia 2.2JTD Super 8AT 110kw
EX AR 159 SW 1.9JTDm 110kw - to je vražda, napsala
EX AR 159 SW 2.4JTDm 154kw Ti
EX AR 156 SW 2.4JTDm 129kw
EX AR 147 1.6 TS 88kw
						AR Giulietta 1.4 T-Jet 88kw Sportiva
EX AR Giulia 2.2JTD Super 8AT 110kw
EX AR 159 SW 1.9JTDm 110kw - to je vražda, napsala
EX AR 159 SW 2.4JTDm 154kw Ti
EX AR 156 SW 2.4JTDm 129kw
EX AR 147 1.6 TS 88kw
Re: Manuální převodovka 147 (lanovody, kulisa, synchrony atp.)
každýmu jsem říkal, že se tam musí něco pročistit a namazat a bud na to zapoměli nebo nevěděli, co tam může drhnout  
 jenom jak jsem tam ten kvalt nemohl nacpat ani vytáhnout, tak jestli to bude fakt něco okolo spojky...
			
									
									
						- speedy
 - SemTuFurt
 - Příspěvky: 7311
 - Registrován: 11.10.2009, ned 17:24
 - Bydliště: Jablonec nad Nisou
 - Kontaktovat uživatele:
 
Re: Manuální převodovka 147 (lanovody, kulisa, synchrony atp.)
AR Tonale Speciale 1.5 VGT 118Kw
AR Giulietta 1.4 T-Jet 88kw Sportiva
EX AR Giulia 2.2JTD Super 8AT 110kw
EX AR 159 SW 1.9JTDm 110kw - to je vražda, napsala
EX AR 159 SW 2.4JTDm 154kw Ti
EX AR 156 SW 2.4JTDm 129kw
EX AR 147 1.6 TS 88kw
						AR Giulietta 1.4 T-Jet 88kw Sportiva
EX AR Giulia 2.2JTD Super 8AT 110kw
EX AR 159 SW 1.9JTDm 110kw - to je vražda, napsala
EX AR 159 SW 2.4JTDm 154kw Ti
EX AR 156 SW 2.4JTDm 129kw
EX AR 147 1.6 TS 88kw
Re: Manuální převodovka 147 (lanovody, kulisa, synchrony atp.)
to máš co? Jak ti Kameník poslal tu druhou pasující a toto je tam první, co ti tam nepasovala? co je to za táhla?
			
									
									
						- speedy
 - SemTuFurt
 - Příspěvky: 7311
 - Registrován: 11.10.2009, ned 17:24
 - Bydliště: Jablonec nad Nisou
 - Kontaktovat uživatele:
 
Re: Manuální převodovka 147 (lanovody, kulisa, synchrony atp.)
to vůbec není moje, to jsem našel prostě na Bazoši, tak jsem to hodil do tohoto threadu.
jinak o tom nevím zhola nic, ani jestli se tento díl nějak liší pro TS a JTD
			
									
									jinak o tom nevím zhola nic, ani jestli se tento díl nějak liší pro TS a JTD
AR Tonale Speciale 1.5 VGT 118Kw
AR Giulietta 1.4 T-Jet 88kw Sportiva
EX AR Giulia 2.2JTD Super 8AT 110kw
EX AR 159 SW 1.9JTDm 110kw - to je vražda, napsala
EX AR 159 SW 2.4JTDm 154kw Ti
EX AR 156 SW 2.4JTDm 129kw
EX AR 147 1.6 TS 88kw
						AR Giulietta 1.4 T-Jet 88kw Sportiva
EX AR Giulia 2.2JTD Super 8AT 110kw
EX AR 159 SW 1.9JTDm 110kw - to je vražda, napsala
EX AR 159 SW 2.4JTDm 154kw Ti
EX AR 156 SW 2.4JTDm 129kw
EX AR 147 1.6 TS 88kw
Re: Manuální převodovka 147 (lanovody, kulisa, synchrony atp.)
jo ja myslel, že je to tvoje nebo koho, kdo to tu nedávno měnil
			
									
									
						- speedy
 - SemTuFurt
 - Příspěvky: 7311
 - Registrován: 11.10.2009, ned 17:24
 - Bydliště: Jablonec nad Nisou
 - Kontaktovat uživatele:
 
Re: Manuální převodovka 147 (lanovody, kulisa, synchrony atp.)
moje určitě ne-e, jestli něčí jiný, tak to opravdu nemam anung  
			
									
									AR Tonale Speciale 1.5 VGT 118Kw
AR Giulietta 1.4 T-Jet 88kw Sportiva
EX AR Giulia 2.2JTD Super 8AT 110kw
EX AR 159 SW 1.9JTDm 110kw - to je vražda, napsala
EX AR 159 SW 2.4JTDm 154kw Ti
EX AR 156 SW 2.4JTDm 129kw
EX AR 147 1.6 TS 88kw
						AR Giulietta 1.4 T-Jet 88kw Sportiva
EX AR Giulia 2.2JTD Super 8AT 110kw
EX AR 159 SW 1.9JTDm 110kw - to je vražda, napsala
EX AR 159 SW 2.4JTDm 154kw Ti
EX AR 156 SW 2.4JTDm 129kw
EX AR 147 1.6 TS 88kw
Kdo je online
Uživatelé prohlížející si toto fórum: Žádní registrovaní uživatelé a 1 host
